跑狗网论坛新一代,2021新版脑筋急转弯,猜谜语大全及答案搞笑,2019脑筋急转弯1-153期免费,港彩二四六下一期预测

大倾角皮带输送机输送角度
奥创机械
2024-01-11 15:38:26
0

大倾角输送机输送角度范围在30-90°之间,并不是所有的大倾角输送机能做到垂直90°,主要是根据物料的颗粒度大小特征来设计输送角度。

当物料的颗粒度大于2公分以上的话,建议输送角度在30-70°之间,角度超过70度,输送量很难达到较好的效果,会造成物料往下撒料,而物料越大的时候,输送角度会更小一些,比如物料的粒度超过10公分以上,建议的输送角度不能超过50°,随着物料粒度越大,输送能力和输送角度会越降低。

当大倾角输送机角度在70-90°之间的时候,一般输送为小颗粒和粉状的物料。

大倾角输送带形式:

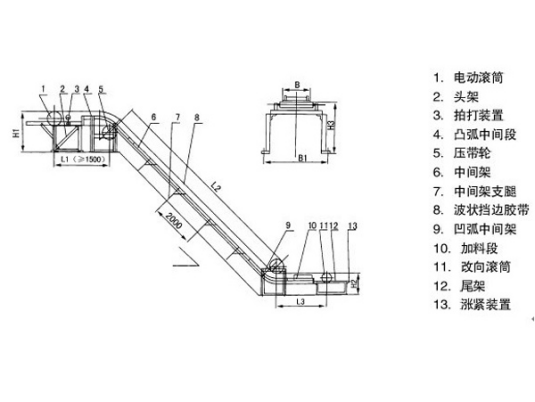
根据物料的大小和输送角度,选择的输送带形式也是不同的;大倾角波纹挡边输送带带由基带、挡边和隔板组成;

基带外观同普通的输送带,但横向刚度更大,挡边为波浪状,隔板按其不同的断面可分为:T型、C型和TC型;T型适用于倾角β≤40°场合,C型适用于倾角β>40°且物料流动性较好的场合,TC型适用于倾角β>40°,物料粘性较大,粘度较大的场合。

大倾角皮带输送机的主要优点:

  (1)大倾角皮带输送机的输送倾角大,大可达90°,是大倾角输送和垂直提升的理想设备。因此可以节约占地面积,节省设备投资和土建费用,取得良好的综合经济效益。例如,某用户欲将煤炭提升到20m高的料仓顶,如采用挡边机以45°倾角输送,则机长仅需28.3m(水平机长20m);而如果采用垂直输送的挡边机,那么,水平机长可以控制在6m以内。

  (2)结构简单。如前所述,各主要部件均可与通用带象和斗式提升机经常发生的打滑、掉斗现象。它的可靠度几乎与通常带式输送机相等。

  (4)运行平稳、噪声小。

  (5)由于在装料时不存在开挖阻力,在运行中不存在材料摩擦和外部摩擦阻力,因此能耗小。

  (6)垂直挡边机还可以在机头和机尾设置任意长度的水平输送段。

大倾角皮带输送机输送角度

相关内容

热门资讯

主站蜘蛛池模板: 凡人歌电视剧全集免费观看| 电视上免费看电影| 大丹麦狗马默杜克| 2024年澳门生肖图| 体育sci期刊有哪些| 澳门精准一肖一码期期准确| 成人用品电动仿真器| 2024澳门一肖一码期期准| 香港正版资料全年资料有限公司| 2022年澳门正版资料免费公开| 2025新澳门天天开好彩.| 菲律宾电影三分之二年| 新澳彩黄大仙开奖8| 我不会轻易狗带的| 2024澳门今晚开奖结果查询表 | 888影视网电视剧在线| 公路运输的物流公司| 澳彩龙门客栈资料库| 2024年澳门开奖结果记录查询表下载| 2023澳门最好正版精准资料| 特别的体育运动| 澳门新彩资料官方网站| 长相思第一集免费观看高清在线| 不花钱的回合网络游戏| 2023澳门资料大全正版资料网站| 2024澳门六今晚开奖号码 | 澳门精准资料免费公开大全49| 澳门大三巴朋友圈| 近期有哪些体育赛事| 2001电影票房排行榜| 澳门彩资料大全书2023| 澳门今期开奖结果澳| 澳门高手论坛免费资料| 最准澳门一肖一码期期准 | 澳门一肖一码100准确网站| 整车运输的物流| 2009电影票房排行榜前十名| 不要会员无广告的追剧软件| 延禧攻略电视剧星辰影院| 2021年的 澳门免费资料| 澳门男人味六肖码开奖|